ÎÒÃǷdz£ÖØÊÓÄúµÄ¸öÈËÒþ˽£¬µ±Äú·ÃÎÊÎÒÃǵÄÍøÕ¾Ê±£¬ÇëͬÒâʹÓõÄËùÓÐcookie¡£ÓйظöÈËÊý¾Ý´¦ÀíµÄ¸ü¶àÐÅÏ¢¿É·ÃÎÊ¡¶Òþ˽Õþ²ß¡·

²úÆ·ÖÐÐÄ

¸ü¶àÄÚÈÝ

Õ­Âö¿íÐźŶÔÇý¶¯Ð¾Æ¬µÄÓ°Ïì

2024/09/02

1£©Õ­Âö¿íµÄÀ´Ô´

Çý¶¯Ð¾Æ¬ÔÚ¸÷ÖÖµçÁ¦µç×ÓϵͳÖÐÓÐ׏㷺µÄÓ¦Óã¬ÀýÈçÕûÁ÷Æ÷¡¢DC-DC±ä»»Æ÷¡¢Äæ±äÆ÷ºÍ±äƵÆ÷µÈ£¬Æä¹¤×÷ƵÂʺÍÕ¼¿Õ±È·¶Î§ÔÚ²»Í¬ÏµÍ³Öи÷²»Ïàͬ¡£

  • ÔÚ³£¹æÕûÁ÷Æ÷µÄPFC²¿·Ö£¬¸ù¾ÝÊäÈëµçѹµÄ·¶Î§²»Í¬£¬ÆäϹܵÄÕ¼¿Õ±È¿ÉÒÔÔÚ0%µ½100%Ö®¼ä±ä»¯£»

  • ÔÚ³£¼ûµÄDC-DC±ä»»Æ÷ÖУ¬¿ª»úʱͨ³£»áÓлºÆô¹¦ÄÜ£¬ÆäÊä³öÂö¿í»á´ÓÁ㿪ʼÖð²½Ôö´ó£»ÁíÍ⣬µ±Êä³ö¸ºÔØ»òÊäÈëµçѹ·¢ÉúË²Ì¬Ìø±äʱ£¬Êä³ö»á³öÏÖ˲̬±ä»¯£¬ÏµÍ³»·Â·»á¸ù¾ÝÊä³öµçѹµÄ±ä»¯À´µ÷ÕûÇý¶¯Æ÷µÄÊäÈëÂö¿í£¬ÔÚµ÷Õû¹ý³ÌÖУ¬¿ÉÄܳöÏÖ¼«´ó»ò¼«Ð¡µÄÊä³öÂö¿í£»

  • ÔÚÇÅÊ½Äæ±äÆ÷ÖУ¬µ±Êä³öµçѹ´ïµ½×î´ó»ò×îС·åֵʱ£¬Ò²¿ÉÄܳöÏÖ¼«´óºÍ¼«Ð¡µÄÊä³öÂö¿í¡£

              image.png

ͼ1 Õý¸ºÏòÕ­Âö¿í

Èç¹ûÕâЩ¼«´ó»ò¼«Ð¡Âö¿íûÓеõ½ÓÐЧÏÞÖÆ£¬¿ÉÄÜ»áÓ°ÏìÇý¶¯Æ÷µÄÎȶ¨¹¤×÷£»ÑÏÖØÇé¿öÏÂÉõÖÁ»áµ¼ÖÂÇý¶¯Æ÷»òϵͳʧЧ¡£


2£©Õý¸ºÕ­Âö¿í¶ÔÇý¶¯Ð¾Æ¬µÄÓ°Ïì

ÏÂͼ2Ëùʾ£¬ÊÇÒ»ÖÖ³£¼ûµÄMOSFETÇý¶¯µç·£¬ÐéÏß¿òÄÚΪһ¸öÊä³öͨµÀµÄ½á¹¹Ê¾Òâͼ£¬ÆäÊä³ö²ÉÓÃPMOS+NMOS½á¹¹¡£Çý¶¯Æ÷ÔÚ¿ØÖƹ¦ÂʹÜMOSFET M1¿ªÍ¨ºÍ¹Ø¶Ïʱ£¬»á¶Ô¹¦ÂÊMOSFET M1µÄÕ¤¼«À­³öºÍ¹àÈëµçÁ÷¡£ÔÚÕ­Âö¿í¿ªÍ¨Çé¿öÏ£¬Çý¶¯Æ÷ÊÕµ½¹Ø¶ÏÖ¸Áî»á½«MOSFET M1¹Ø¶Ï£¬´ËʱMOSFET  M1µÄ¿ªÍ¨¹ý³Ì»¹Ã»ÓÐÍê³É£¬Çý¶¯Æ÷µÄÊä³öÈÔȻά³ÖÔڽϸߵĵçÁ÷£¬µ±¸ÃµçÁ÷ͻȻ±ä»¯£¬ÔÚPCB×ßÏß¼ÄÉúµç¸ÐºÍÇý¶¯Æ÷ÄÚ²¿¼ÄÉúµç¸ÐµÄ¹²Í¬×÷ÓÃÏ£¬»áÔÚÇý¶¯Æ÷µÄÊä³öÒý½Å²úÉúºÜ´óµÄµçѹӦÁ¦£¬¸ÃÓ¦Á¦¿ÉÄܵ¼ÖÂоƬʧЧ¡£

 image.png

ͼ2 ³£¼û¹¦ÂÊMOSFETÇý¶¯µç·

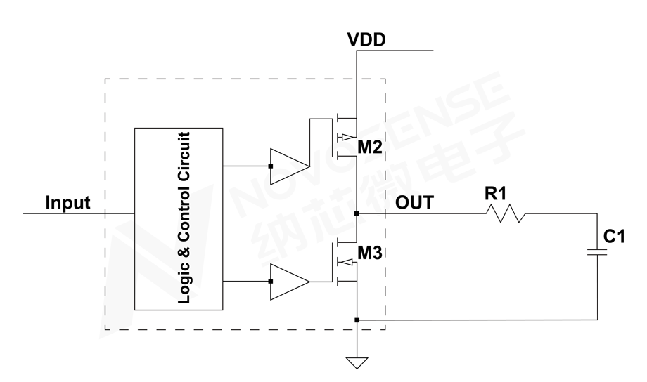
ΪÁË·ÖÎöºÍÑéÖ¤£¬½«MOSFETµÄÃż«ÊäÈëµçÈݲÉÓõçÈÝC1À´´úÌæ£¬ÈçÏÂͼ3Ëùʾ¡£

 image.png

ͼ3 ʵÑé¼ò»¯µç·

¿¼Âǵ½PCBºÍоƬÄÚ²¿µÄ¼ÄÉúµç¸Ð£¬ÆäµÈЧµç·ÈçÏÂͼ4Ëùʾ£¬ÆäÖÐL1¡¢L4ºÍL5ΪоƬÄÚ²¿¼ÄÉúµç¸Ð£¨Lbonding£©£¬L2ºÍL3ΪPCBÉϵļÄÉúµç¸Ð£¨LPCB£©¡£

 image.png

ͼ4 µÈЧµç·

? ÏÂÃæ½«¶Ô²»Í¬Âö¿íÏÂÇý¶¯Æ÷µÄÓ¦Á¦²úÉúºÍÓ°Ïì½øÐмòÒª½éÉÜ¡£

1. ÕýÏòÕ­Âö¿íµÄ״̬·ÖÎö

  • t0~t1ÆÚ¼ä£¬Çý¶¯Ð¾Æ¬ÄÚ²¿µÄNMOS M3µ¼Í¨£¬PMOS M2¹Ø¶Ï£¬OUTÊä³öΪµÍ£¬´ËʱÇý¶¯»ØÂ·ÖеÄIsrcºÍIsnkµçÁ÷¾ùΪÁ㣻

  • t1ʱ¿Ì£¬NMOS M3¹Ø¶Ï£¬PMOS M2µ¼Í¨£¬OUTÊä³öÀ­¸ß£¬¸ø¸ºÔصçÈÝC1³äµç£¬IsnkµçÁ÷ΪÁ㣻

  • t2ʱ¿Ì£¬PMOS M2¹Ø¶Ï£¬NMOS M3µ¼Í¨£¬OUTÊä³ö±»À­µÍ£¬´ËʱÇý¶¯µçÁ÷Isrc²»ÎªÁã¡£¸ÃµçÁ÷ÔÚоƬÄÚ²¿¼ÄÉúµç¸ÐºÍPCB×ßÏß¼ÄÉúµç¸ÐµÄ¹²Í¬×÷ÓÃÏ£¬¶ÔPMOS M2ºÍNMOS M3µÄ¼ÄÉúÊä³öµçÈݽøÐгä·Åµç£¬´Ó¶øµ¼ÖÂOUT³öÏÖ¸ºÏò¹ý³åµçѹ¡£Çý¶¯Æ÷ÄÚ²¿Êä³öPadµÄµçѹӦÁ¦¿ÉÒÔÓÃÈçϹ«Ê½(1)½øÐйÀËã¡£

image.png

ÆäÖи÷²ÎÊýµÄ¶¨ÒåÈçÏ£º

  • VGate: MOSFETµÄÕ¤¼«µçѹ

  • Lbonding£ºICÄÚ²¿µÄ¼üºÏÏß²úÉúµÄ¼ÄÉúµç¸Ð£¬Í¨³£Ô¼Îª5nH

  • LPCB£ºÇý¶¯Æ÷Êä³öÒý½Åµ½Õ¤¼«µÄPCBÒýÏß¼ÄÉúµç¸Ð

  • RG£ºMOSFETµÄÕ¤¼«Çý¶¯µç×è 

image.png

±í1 ²»Í¬Âö¿í״̬·ÖÎö


2. Õý³£Âö¿íµÄ״̬·ÖÎö

  • t0~t1ÆÚ¼ä£¬Çý¶¯Ð¾Æ¬ÄÚ²¿NMOS M3µ¼Í¨£¬PMOS M2¹Ø¶Ï£¬OUTÊä³öΪµÍ£¬Çý¶¯»ØÂ·ÖÐIsrcºÍIsnkµçÁ÷ΪÁ㣻

  • t1ʱ¿Ì£¬NMOS M3¹Ø¶Ïºó£¬PMOS M2µ¼Í¨£¬OUTÊä³öÀ­¸ß£¬¸ºÔصçÈÝC1³äµç£¬µ±µçÈÝC1³äÂúµçºó£¬Isrc»Ö¸´µ½0£¬IsnkµçÁ÷±£³ÖΪÁ㣻

  • t2ʱ¿Ì£¬PMOS M2¹Ø¶Ïºó£¬NMOS M3¿ªÍ¨£¬OUTÊä³ö±»À­µÍ£¬¸ºÔصçÈÝC1·Åµç£¬µ±µçÈÝC1·Åµç½áÊøºó£¬IsnkµçÁ÷»Ö¸´µ½Á㣻

  • OUTÊä³öת»»¹ý³ÌÖУ¬lsrc»òIsnk¶¼ÊÇÓÉÁãÉÏÉý»òϽµµ½·åÖµ£¬È»ºó»Ö¸´µ½Á㣬OUTÊä³öûÓÐÃ÷ÏÔµÄÕýÏò»ò¸ºÏò¹ý³åµçѹ¡£


3. ¸ºÏòÕ­Âö¿íµÄ״̬·ÖÎö

  • t0~t1ÆÚ¼ä£¬Çý¶¯Ð¾Æ¬ÄÚ²¿PMOS M2µ¼Í¨£¬NMOS M3¹Ø¶Ï£¬OUTÊä³öΪ¸ß£¬Çý¶¯»ØÂ·ÖÐIsrcºÍIsnkµçÁ÷ΪÁ㣻

  • t1ʱ¿Ì£¬NMOS M3µ¼Í¨£¬OUTÊä³öÀ­µÍ£¬¸ºÔصçÈÝC1·Åµç£»

  • t2ʱ¿Ì£¬NMOS M3¹Ø¶Ï£¬PMOS3¿ªÍ¨£¬OUTÊä³ö±»À­¸ß£¬´ËʱÇý¶¯»ØÂ·ÖеçÁ÷Isnk²»ÎªÁ㣬¸ÃµçÁ÷ÔÚоƬÄÚ²¿µÄ¼ÄÉúµç¸ÐºÍPCB×ßÏߵļÄÉúµç¸ÐµÄ¹²Í¬×÷ÓÃÏ£¬¶ÔPMOS M2ºÍNMOS M3µÄ¼ÄÉúÊä³öµçÈݽøÐгä·Åµç£¬µ¼ÖÂOUTÊä³ö³öÏÖÏÔÖøµÄÕýÏò¹ý³åµçѹ¡£


ʵ¼Êµç·ÑéÖ¤

ΪÁËÑéÖ¤Õ­Âö¿íµÄÓ°Ï죬±¾ÊµÑéÑ¡ÔñÁËÒ»¿î×î´ó¶î¶¨µçѹΪ20VµÄÇý¶¯Ð¾Æ¬£¬²¢°´ÕÕÉÏͼ3ËùʾµÄʵÑéµç·½øÐвâÊÔ¡£

ʵÑéÖУ¬Ð¾Æ¬¹©µçµçѹÉèÖÃΪ15V£¬¸ºÔصçÈÝC1Ϊ27nF£¬ÊäÈëÐÅºÅÆµÂÊΪ100kHz£¬Âö³å¿í¶È·Ö±ðΪ20ns¡¢2¦ÌsºÍ9.98¦Ìs£¨¶ÔÓ¦20ns¸ºÏòÕ­Âö¿í£©¡£

ÔÚÏàͬÂö¿íÏ£¬Í¨¹ýµ÷ÕûÇý¶¯µç×èR1µÄ´óС£¬À´¸Ä±ä¿ªÍ¨ºÍ¹Ø¶ÏʱµÄÇý¶¯µçÁ÷ºÍµçÁ÷±ä»¯ÂÊ£¬µÃµ½ÊµÑé½á¹ûÈçÏÂËùʾ£¬Í¼ÖлÆÉ«ÏßÌõ±íʾÊäÈëÐźÅ£¬ÂÌÉ«ÏßÌõ±íʾÊä³öÐźÅ¡£

image.png

±í2 ʵ¼Êµç·ÑéÖ¤½á¹û

ÈçÉϽá¹ûËùʾ£¬µ±Çý¶¯µç×èΪ1¦¸Ê±£¬20nsµÄÕýÏòÕ­Âö¿í»áµ¼ÖÂ-9VµÄ¸ºÏò¹ý³å£»Í¬Ñù£¬20nsµÄ¸ºÏòÂö¿í»áµ¼ÖÂ27.4VµÄÕýÏò¹ý³å£¬³¬¹ýÁËоƬµÄ¶î¶¨Öµ£¬»á´æÔÚʧЧ·çÏÕ¡£Õý³£Âö¿íÏ£¬OUTÊä³öûÓÐÕý¸º¹ý³åÏÖÏó¡£´ËÍ⣬»¹¿ÉÒÔ¿´³ö£¬ÔÚÏàͬÂö¿íÊäÈëʱ£¬Çý¶¯µçÁ÷Ô½´ó£¬Êä³ö½ÅµÄÕýÏò»ò¸ºÏòµçѹӦÁ¦Ô½¸ß£»Òò´Ë¼õСÇý¶¯µçÁ÷¿ÉÒÔÓÐЧ¼õСխÂö¿í²úÉúµÄÕý¸º¹ý³åµçѹ¡£


3£©½â¾ö·½°¸ºÍ½¨Òé

ͨ¹ýÉÏÃæµÄ·ÖÎöºÍÑéÖ¤¿ÉÒÔ¿´³öÕ­Âö¿íϹý´óµÄÇý¶¯µçÁ÷»á¶ÔÊä³öÓ¦Á¦²úÉúÑÏÖØÓ°Ï졣ϵͳӦÓÃÖÐΪÁ˱ÜÃâÇý¶¯Æ÷Êä³öÓ¦Á¦³¬±ê£¬½¨Òé¿Í»§´ÓÒÔϼ¸¸ö·½Ãæ½øÐÐÓÅ»¯ºÍ½â¾ö¡£

  • PCB²¼¾Öʱ¾¡Á¿½«Çý¶¯Æ÷Ó빦Âʹܾͽü·ÅÖ㬼õСÇý¶¯Æ÷Êä³öÒý½Åµ½¹¦ÂʹÜÃż«Ö®¼äµÄ×ßÏßµç¸Ð¡£

  • Çý¶¯Æ÷µÄ¹©µçµçÈݾ¡¿ÉÄÜ¿¿½üоƬµÄµçÔ´Òý½Å£¬ÇÒͬ²ã·ÅÖ㬼õСÒò¹ý¿×ºÍ×ßÏß²úÉúµÄ¼ÄÉúµç¸Ð¡£

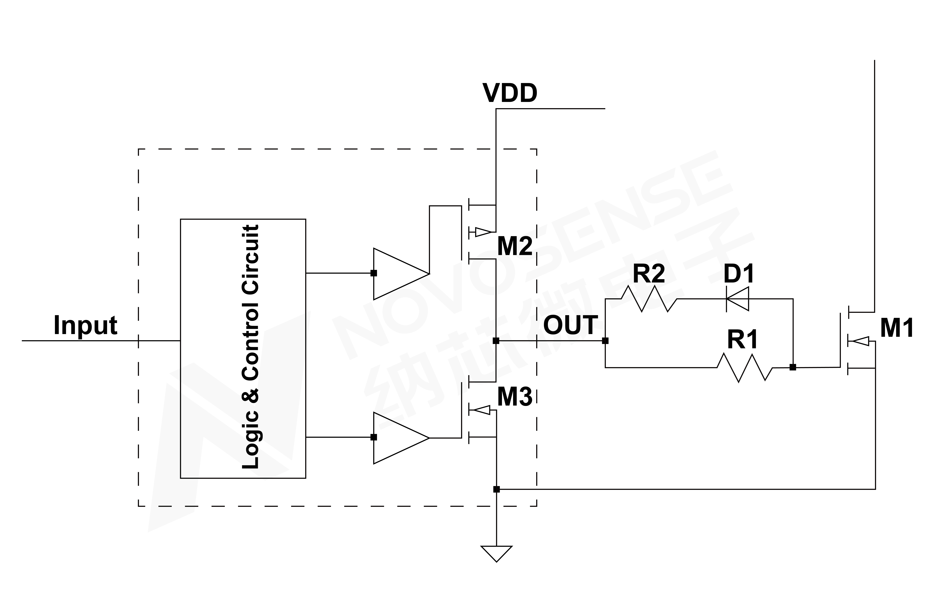
  • ÔÚϵͳӦÓÃÖУ¬¶Ô×î´óºÍ×îСÇý¶¯Êä³öÂö¿í½øÐÐÏÞÖÆ£¬È·±£¿ªÍ¨ºÍ¹Ø¶Ïǰһ¿ÌÇý¶¯Êä³öµçÁ÷ÒѽµÎªÁ㣬±ÜÃâÊä³ö³öÏÖ¹ý´óµÄÕýÏò»ò¸ºÏò¹ý³åµçѹ¡£

  • Êʵ±µ÷ÕûÇý¶¯µç×裬¼õСխÂö¿íÇý¶¯»ØÂ·ÖеĵçÁ÷ºÍµçÁ÷±ä»¯ÂÊ¡£

sitemap¡¢µØÍ¼