ÎÒÃǷdz£ÖØÊÓÄúµÄ¸öÈËÒþ˽£¬µ±Äú·ÃÎÊÎÒÃǵÄÍøÕ¾Ê±£¬ÇëͬÒâʹÓõÄËùÓÐcookie¡£ÓйظöÈËÊý¾Ý´¦ÀíµÄ¸ü¶àÐÅÏ¢¿É·ÃÎÊ¡¶Òþ˽Õþ²ß¡·
½üÈÕ£¬ÉϺ£ ¡ª¡ª ÒøºÓ¼¯ÍÅgalaxyµç×Ó£¨¼ò³Æ¡°ÒøºÓ¼¯ÍÅgalaxy¡±£©·¢²¼È«ÐÂ˫ͨµÀ°ëÇÅÕ¤¼«Çý¶¯Ð¾Æ¬NSD3602-Q1ϵÁУ¬Ìṩ2·°ëÇÅÇý¶¯£¬¿ÉÇý¶¯1·ֱÁ÷ÓÐË¢µç»ú»òÕß1-2·µç´Å·§¡£NSD3602-Q1ÊʺÏÓÃÓÚ³µÉíÓ¦ÓÃÖжàµç»ú»ò¶à¸ºÔس¡¾°£¬Èç³µ´°Éý½µ¡¢µç¶¯×ùÒΡ¢ÃÅËø¡¢µç¶¯Î²ÃźͱÈÀý·§µÈ¡£ÐÂÍÆ³öµÄNSD3602-Q1ÊǶÔÒøºÓ¼¯ÍÅgalaxyÏÖÓÐNSD360x-Q1ϵÁеIJ¹³ä£¬NSD360x-Q1ϵÁл¹°üÀ¨4ͨµÀºÍ8ͨµÀµÄ°ëÇÅÇý¶¯²úÆ·¡£

²úÆ·ÌØÐÔ
¡ô ¿í¹¤×÷µçѹ£º4.9V ¨C 37V£¨×î´óÖµ40V£©
¡ô 2ͨµÀ°ëÇÅÕ¤¼«Çý¶¯
¡ô ¿ÉÅäÖÃʱÐò³ä·ÅµçµçÁ÷Çý¶¯(CCPD)£¬ÓÅ»¯EMCÐÔÄÜ
¡ô ¼¯³ÉµçºÉ±ÃʵÏÖ 0~100% PWM
¡ô ¼¯³É1·¿É±à³Ì¿íÄ£ÔË·Å
¡ô µÍ¹¦ºÄģʽ
¡ô Á½ÖÖ°æ±¾£ºSPI °æ±¾Ö§³Ö16λ 10MHZ SPIͨÐÅ£»Ó²¼þ°æ±¾Ö§³ÖIO¶ÀÁ¢ÅäÖ㬼õÉÙMCU IO
¡ô È«ÃæµÄÕï¶Ï±£»¤¹¦ÄÜ
¡ô ¹¤×÷ζȣºTj=-40¡ãC~150¡ãC
¡ô ·â×°ÐÎʽ£ºVQFN32
¡ô AEC-Q100ÈÏÖ¤

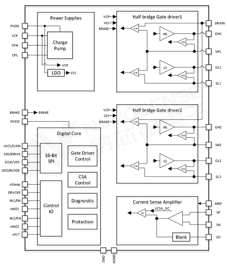
NSD3602-Q1¹¦ÄÜ¿òͼ
¿ÉÅäÖÃʱÐò³ä·ÅµçµçÁ÷Çý¶¯(CCPD)£ºÓÅ»¯EMCÐÔÄÜ
ÓÉÓÚ³µÉíÓ¦ÓÃÖÐÖ´ÐÐÆ÷µÄλÖÃÌØÊâÐÔ£¬ÀýÈçµç¶¯Î²ÃźÍÌì´°·Ç³£¿¿½ü³µÉíÌìÏߣ¬Õâ¾Í¶ÔÏàÓ¦µÄµç»úÇý¶¯Ìá³öÁ˽ϸߵÄEMCÒªÇó£ºÇý¶¯Æ÷¼´Ê¹ÔÚPWM¹¤×÷ʱҲӵÓнϵ͵ķøÉä¼°´«µ¼¸ÉÈÅ(RE/CE) ¡£
ΪÁËÓ¦¶ÔÕâЩÌôÕ½£¬NSD3602-Q1ÌṩÁË¿ÉÅäÖÃʱÐò³ä·ÅµçµçÁ÷Çý¶¯(CCPD: Configurable Charge/Discharge Current Profile Driver)¡£NSD3602-Q1¿ÉÒÔ¸ù¾ÝÍⲿ¸ºÔØ(MOSFET)µÄ²ÎÊýºÍÓ¦ÓÃÐèÇó£¬Í¬Ê±ÊµÏÖ2·°ëÇŶÀÁ¢Ê±ÐòµçÁ÷PWMÇý¶¯£¬µçÁ÷ÐÍÇý¶¯Ò²²»ÔÙÐèÒªÍⲿÃż¶µç×èºÍGS/GDµçÈÝ¡£
ÈçÏÂͼËùʾ£¬NSD3602-Q1µÄCCPDÄ£¿é½«MOSµ¼Í¨/¹Ø¶Ï¹ý³Ì·ÖΪÈý¸ö½×¶Î£ºÔ¤³äµç/Ô¤·Åµç½×¶Î¡¢³äµç/·Åµç½×¶Î¡¢Î²·Åµç½×¶Î£¨µ¼Í¨Ö»ÓÐÁ½½×¶Î£©£¬ËùÓн׶εijÖÐøÊ±¼äºÍÇý¶¯µçÁ÷¶ÀÁ¢¿ÉÅäÖá£

CCPDÇý¶¯Ê±¼äʾÒâͼ
¿íÄ£ÔË·Å£º¾«×¼µçÁ÷¼ì²â£¬¼ò»¯BOM
NSD3602-Q1ÄÚ²¿¼¯³ÉÁË1¸ö¸ßÐÔÄܲî·Ö·Å´óÆ÷ (CSA)£¬Í¨¹ý²âÁ¿Íⲿ²ÉÑùµç×èÉϵIJî·ÖµçѹÀ´²âÁ¿µçÁ÷£¬CSAÄ£¿éÖ§³Ö¿É±à³ÌÔöÒæºÍÆ«Öá¢¿í¹²Ä£¡¢Ë«ÏòÊäÈë¡¢ÏûÒþ (blanking) ºÍ²ÉÑù±£³Ö (sample & hold) ¹¦ÄÜ£¬Í¨¹ýCSAÄ£¿é¿ÉÒÔʵÏÖ¾«×¼ºÍÁé»îµÄµçÁ÷²ÉÑù£¬½ÚÊ¡¿Í»§BOM¡£
È«ÃæµÄÕï¶Ï±£»¤¹¦ÄÜ£¬ÌáÉýϵͳ¿É¿¿ÐÔ
NSD3602-Q1 ¼¯³ÉÁËÈ«ÃæµÄÕï¶Ï±£»¤¹¦ÄÜ£¬ÈçʵʱµçÔ´¼°µçºÉ±Ãµçѹ¼à¿Ø£¬ÊµÏÖÈ«¹¦ÄܵÄǷѹ¹ýѹÕï¶Ï±£»¤(DVDD UV, PVDD OV, PVDD UV ºÍVCP UV)¡¢Çý¶¯Ä£¿é¼à¿ØÊµÏÖVGS¼°VDSÕï¶Ï±£»¤¡¢ÊµÏÖÔËÐк͹رÕ״̬ϸºÔصĿªÂ·¡¢¶Ì·Õï¶Ï£¨ÄÚÖÃÁËÉÏÏÂÀµçÁ÷Ô´£¬´Ó¶øÊµÏÖoff״̬ϸºÔؼì²â£©¡¢¹ýÈȱ¨¾¯¼°¹ýÈȱ£»¤¡¢CSA¹ýÁ÷Õï¶Ï¡¢¿´ÃŹ·¡¢Ë¯ÃßģʽºÍ¹¤×÷ģʽϵÄɲ³µ±£»¤¹¦Äܵȡ£ËùÓÐÕï¶Ï±£»¤¹¦ÄÜÖ§³ÖSPIÅäÖûòÕßÐÅÏ¢¶ÁÈ¡£¬Ò²Ö§³Ö¶ÀÁ¢µÄPIN½ÅʵÏÖIO״̬Êä³ö¡£
NSD3602-Q1¼¯³ÉµÄɲ³µ±£»¤¹¦ÄÜ£¬¿ÉÓÐЧÒÖÖÆÍⲿ»úе×÷ÓÃÁ¦£¨ÈçÈËΪÀ×§¡¢ÍÏ×§£©µ¼ÖµĵçѹÖèÉý£¬´Ó¶ø·ÀÖ¹MOS¹ÜÒò¹ýѹË𻵡£ÕâÒ»¹¦ÄÜÔڲ໬ÃÅ¡¢µç¶¯Ì¤°å¡¢Î²ÃųŸ˵ÈÓ¦ÓÃÖÐÓÈΪ¹Ø¼ü£¬¿É½µµÍÒòÎó²Ù×÷»òÍ»·¢³å»÷ÒýÆðµÄϵͳ¹ÊÕÏ·çÏÕ£¬ÌáÉýÕûÌå¿É¿¿ÐÔ¡£
Ñ¡ÐÍÓë·â×°
³ýÁËNSD3602-Q1£¬ÒøºÓ¼¯ÍÅgalaxy»¹ÌṩNSD3604/8-Q1£¬ÒÔÂú×㲻ͬͨµÀÊýµÄÐèÇó¡£NSD3602/4/8-Q1ϵÁÐÖ§³Ö 2/4/8 ·°ëÇÅÇý¶¯£¬¾ß±¸¸ß¼¯³É¶ÈºÍÉè¼ÆÁé»îÐÔ£¬ÊÊÓÃÓÚ¶àµç»ú»ò¶à¸ºÔØÓ¦Óã¬ÖúÁ¦¿Í»§Ñ¡ÐÍ¡£
