我们非常重视您的个人隐私,当您访问我们的网站时,请同意使用的所有cookie。有关个人数据处理的更多信息可访问《隐私政策》
产品特性
? 宽电源范围:±1.35 V 至 ±20 V,2.7 V 至 40 V
? 增益带宽积:1 MHz
? 低失调电压:300 μV(典型值)
? 转换速率:2 V/μs(典型值)
? 低失调电压漂移:±1.8 μV/° C(典型值)
? 出色的 EMIRR 性能:输入和电源引脚上的 EMI/RFI 滤波器
? 低静态电流:每通道 140 ?A
? 差分和共模输入电压范围至电源轨
? 兼容脉冲 / 比较器输入
? 单位增益稳定
? 扩展温度范围:–40° C 至 125° C
? 符合 AEC-Q100 汽车应用认证
应用场景
? 多路复用数据采集系统
? 测试和测量设备
? ADC 驱动放大器
? SAR ADC 参考缓冲器
? 可编程逻辑控制器
? 高侧和低侧电流检测
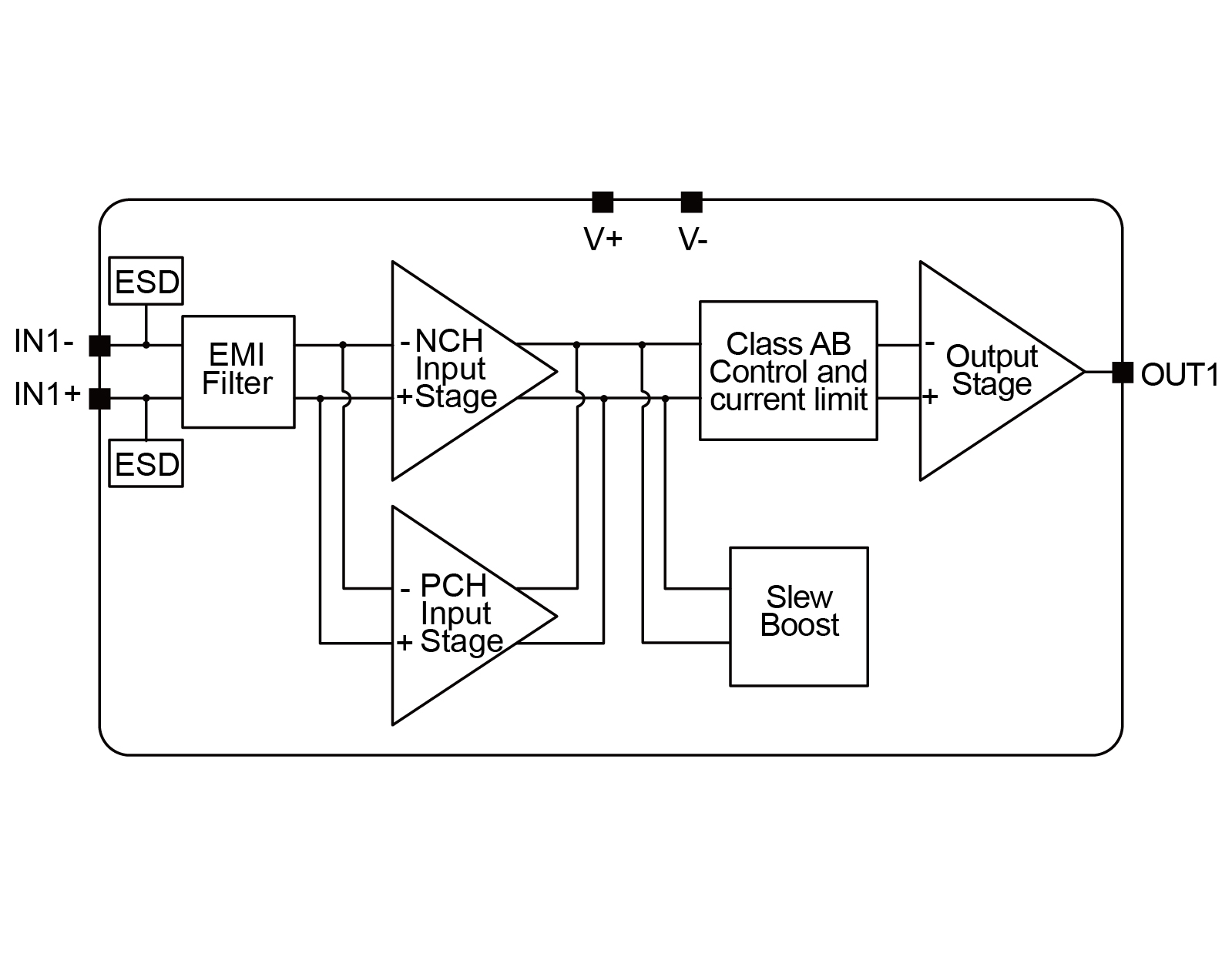
功能框图


如您需要咨询产品更多信息,请点击“银河集团galaxy”,我们将尽快回复您!