ÎÒÃǷdz£ÖØÊÓÄúµÄ¸öÈËÒþ˽£¬µ±Äú·ÃÎÊÎÒÃǵÄÍøÕ¾Ê±£¬ÇëͬÒâʹÓõÄËùÓÐcookie¡£ÓйظöÈËÊý¾Ý´¦ÀíµÄ¸ü¶àÐÅÏ¢¿É·ÃÎÊ¡¶Òþ˽Õþ²ß¡·

²úÆ·ÖÐÐÄ
µÍѹͨÓÃÔËËã·Å´óÆ÷

²úÆ·ÖÐÐÄ

NSOPA810xQ£ºµÍµçѹ¡¢Í¨Óᢵ͹¦ºÄÔËËã·Å´óÆ÷

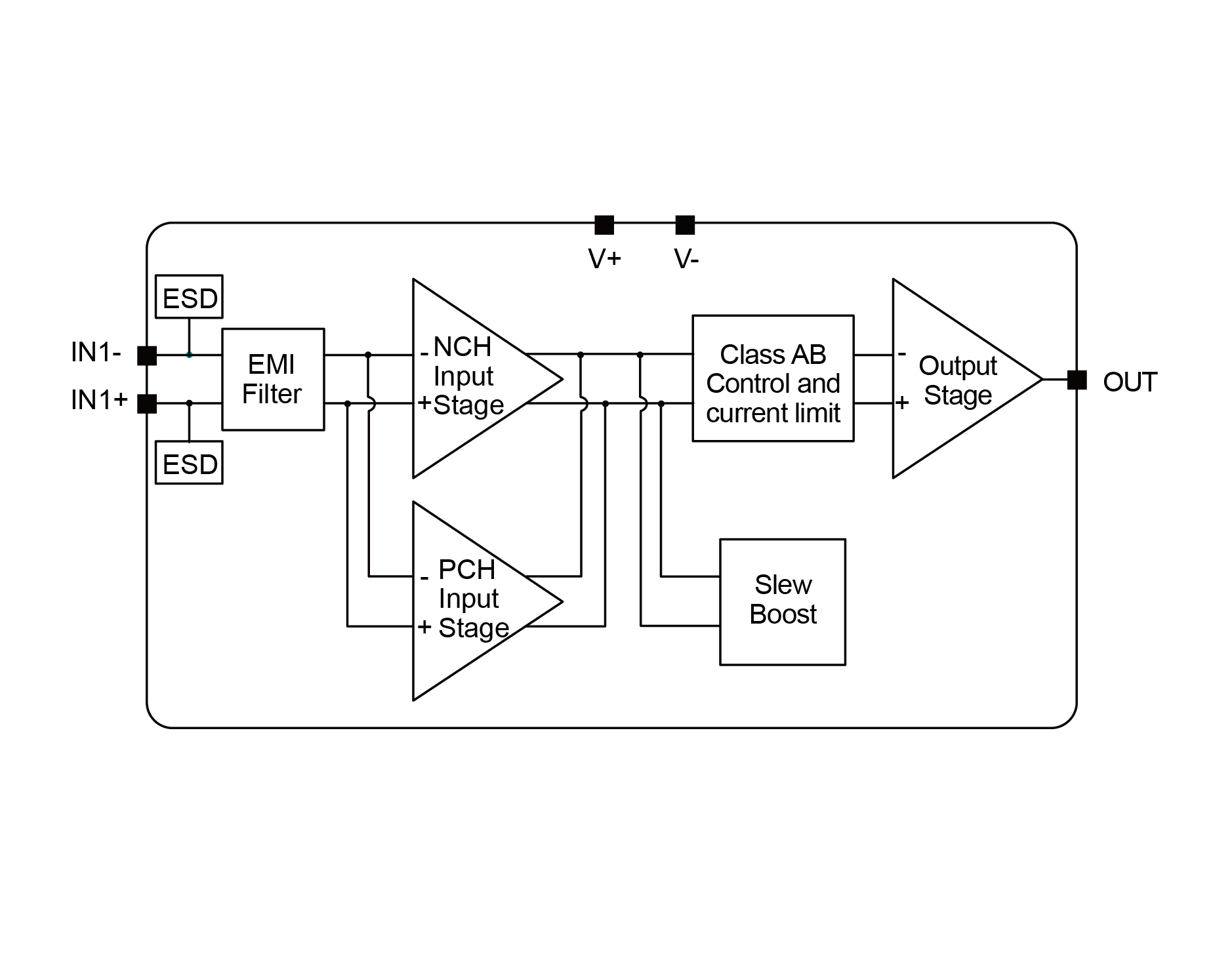
NSOPA810xQ ϵÁÐÊǵ͵çѹ£¨1.8V ÖÁ 5.5V£©¡¢Í¨Óõĵ͹¦ºÄÔËËã·Å´óÆ÷£¨op amp£©£¬¾ßÓй쵽¹ìÊäÈëºÍÊä³ö°Ú·ùÄÜÁ¦¡£ÕâЩÔËËã·Å´óÆ÷ÌṩÁËÒ»¸ö¾­¼Ã¸ßЧµÄ½â¾ö·½°¸£¬ÊÊÓÃÓÚÐèÒªµÍµçѹ²Ù×÷ºÍ¸ßµçÈݸºÔØÇý¶¯µÄÓ¦Óá£NSOPA810xQ ϵÁеĵçÈݸºÔØÇý¶¯ÄÜÁ¦Îª 1nF£¬ÇÒ¿ª»·Êä³ö×迹Ϊµç×èÐÔ£¬Ê¹ÆäÔÚ¸ü¸ßµçÈݸºÔØÏ¸üÒ×ÓÚÎȶ¨¡£NSOPA810xQ ϵÁеÄÎȽ¡Éè¼Æ¼ò»¯Á˵ç·Éè¼Æ¡£ÕâЩÔËËã·Å´óÆ÷¾ßÓе¥Î»ÔöÒæÎȶ¨ÐÔ¡¢¼¯³ÉµÄ RFI ºÍ EMI ÒÖÖÆÂ˲¨Æ÷£¬²¢ÔÚ¹ýÇýÌõ¼þÏÂÎÞÏàλ·´×ª¡£Æä΢ÐÍ·â×°Èç SC70-5£¬ÒÔ¼°ÐÐÒµ±ê×¼·â×°Èç SOT23-5L¡¢SOP¡¢MSOP ºÍ TSSOP ·â×°¾ù¿ÉÑ¡¡£

²úÆ·ÌØÐÔ

? ¹©µçµçѹ·¶Î§£º1.8V ÖÁ 5.5V

? ¹ìµ½¹ìÊäÈëºÍÊä³ö

? µÍÊäÈëʧµ÷µçѹ£º¡À0.3 mV£¨µäÐÍÖµ£©

? ÔöÒæ´ø¿í»ý£º10 MHz

? µ¥Î»ÔöÒæÎȶ¨

? ·ûºÏÆû³µÓ¦ÓÃµÄ AEC-Q100 ÈÏÖ¤

? µÍ¿í´øÔëÉù£º12 nV/ ¡Ì Hz£¨µäÐÍÖµ£©

? µÍÊäÈëÆ«ÖõçÁ÷£º5 pA£¨µäÐÍÖµ£©

? µÍ¾²Ì¬µçÁ÷£º765 ?A/ ͨµÀ£¨µäÐÍÖµ£©

? ÄÚÖà RFI ºÍ EMI Â˲¨Æ÷

? À©Õ¹Î¶ȷ¶Î§£º¨C40¡ã C ÖÁ 125¡ã C


Ó¦Óó¡¾°

? ´«¸ÐÆ÷Ðźŵ÷Àí

? µçÔ´´«Ê䣺UPS/µçÔ´Ä£¿é / Ì«ÑôÄÜ 

? Äæ±äÆ÷ / ËÅ·þ / PLC / µç»úÇý¶¯Æ÷

? µÍ²àµçÁ÷¼ì²â

? ASIC ÊäÈë»òÊä³ö·Å´óÆ÷

¹¦ÄÜ¿òͼ

NSOPA810_NSOPA805.jpg

ÈçÄúÐèÒª×Éѯ²úÆ·¸ü¶àÐÅÏ¢£¬Çëµã»÷¡°ÒøºÓ¼¯ÍÅgalaxy¡±£¬ÎÒÃǽ«¾¡¿ì»Ø¸´Äú!

sitemap¡¢µØÍ¼