ÎÒÃǷdz£ÖØÊÓÄúµÄ¸öÈËÒþ˽£¬µ±Äú·ÃÎÊÎÒÃǵÄÍøÕ¾Ê±£¬ÇëͬÒâʹÓõÄËùÓÐcookie¡£ÓйظöÈËÊý¾Ý´¦ÀíµÄ¸ü¶àÐÅÏ¢¿É·ÃÎÊ¡¶Òþ˽Õþ²ß¡·
NSOPA805xQ ϵÁÐÊÇÒ»¿îµÍµçѹ£¨1.8 V ÖÁ 5.5 V£©¡¢Í¨Óᢵ͹¦ºÄµÄÔËËã·Å´óÆ÷£¬¾ß±¸¹ìµ½¹ìÊäÈëºÍÊä³ö°Ú·ùÄÜÁ¦¡£ÕâЩÔË·ÅΪÐèÒªµÍµçѹ²Ù×÷ºÍ¸ßµçÈݸºÔØÇý¶¯µÄÓ¦ÓÃÌṩÁ˾¼Ã¸ßЧµÄ½â¾ö·½°¸¡£NSOPA805xQ ϵÁеĵçÈݸºÔØÇý¶¯ÄÜÁ¦Îª 1nF£¬¿ª»·Êä³ö×迹Ϊµç×èÐÔ£¬Ê¹µÃÔÚ¸ü¸ßµçÈݸºÔØÏ¸üÈÝÒ×ʵÏÖÎȶ¨¡£NSOPA805xQ ϵÁеÄÎȽ¡Éè¼Æ¼ò»¯Á˵ç·Éè¼Æ¡£ÕâЩÔ˷ž߱¸µ¥Î»ÔöÒæÎȶ¨ÐÔ¡¢¼¯³ÉµÄ RFI ºÍ EMI ¿¹¸ÉÈÅÂ˲¨Æ÷£¬²¢ÇÒÔÚ¹ýÇý¶¯Ìõ¼þϲ»»á·¢ÉúÏàλ·´×ª¡£¸ÃϵÁл¹Ìṩ΢ÐÍ·â×°£¬Èç SC70-5£¬ÒÔ¼°ÐÐÒµ±ê×¼·â×°£¬Èç SOT23-5L¡¢SOP¡¢MSOP ºÍ TSSOP ·â×°¡£
²úÆ·ÌØÐÔ
? ¹©µçµçѹ·¶Î§£º1.8V ÖÁ 5.5V
? ¹ìµ½¹ìÊäÈëºÍÊä³ö
? µÍÊäÈëʧµ÷µçѹ£º¡À0.35 mV£¨µäÐÍÖµ£©
? ÔöÒæ´ø¿í»ý£º5 MHz
? µ¥Î»ÔöÒæÎȶ¨
? ·ûºÏÆû³µÓ¦ÓÃµÄ AEC-Q100 ÈÏÖ¤
? µÍ¿í´øÔëÉù£º16 nV/ ¡Ì Hz£¨µäÐÍÖµ£©
? µÍÊäÈëÆ«ÖõçÁ÷£º5 pA£¨µäÐÍÖµ£©
? µÍ¾²Ì¬µçÁ÷£º360 ?A/ ͨµÀ£¨µäÐÍÖµ£©
? ÄÚÖà RFI ºÍ EMI Â˲¨Æ÷
? À©Õ¹Î¶ȷ¶Î§£º¨C40¡ã C ÖÁ 125¡ã C
Ó¦Óó¡¾°
? ´«¸ÐÆ÷Ðźŵ÷Àí
? µçÔ´´«Ê䣺UPS/µçÔ´Ä£¿é / Ì«ÑôÄÜ
? Äæ±äÆ÷ / ËÅ·þ /PLC/µç»úÇý¶¯Æ÷
? µÍ²àµçÁ÷¼à²â
? ASICÊäÈë»òÊä³ö·Å´óÆ÷
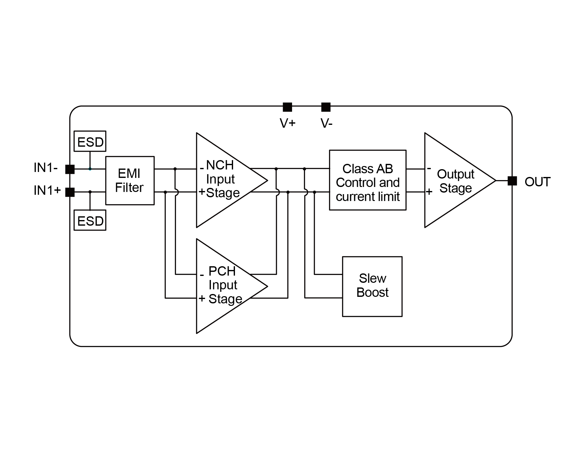
¹¦ÄÜ¿òͼ


ÈçÄúÐèÒª×Éѯ²úÆ·¸ü¶àÐÅÏ¢£¬Çëµã»÷¡°ÒøºÓ¼¯ÍÅgalaxy¡±£¬ÎÒÃǽ«¾¡¿ì»Ø¸´Äú!