ÎÒÃǷdz£ÖØÊÓÄúµÄ¸öÈËÒþ˽£¬µ±Äú·ÃÎÊÎÒÃǵÄÍøÕ¾Ê±£¬ÇëͬÒâʹÓõÄËùÓÐcookie¡£ÓйظöÈËÊý¾Ý´¦ÀíµÄ¸ü¶àÐÅÏ¢¿É·ÃÎÊ¡¶Òþ˽Õþ²ß¡·
NSM2033 ϵÁÐÊÇÒøºÓ¼¯ÍÅgalaxyÍÆ³öµÄ¸ß¾«¶ÈÏßÐÔµçÁ÷´«¸ÐÆ÷£¬¿ÉΪ»ùÓÚ¾Û´Å»·µÄ´óÁ¿³ÌµçÁ÷¼ì²âÌṩ¸ß¾«¶ÈµÄ½â¾ö·½°¸£¬±»¹ã·ºÓ¦ÓÃÓڵ綯Æû³µµçÇýϵͳµÄÏàµçÁ÷¼ì²â¡¢¹¤ÒµÏµÍ³ÖеçÁ÷Ä£¿éµÄ´óµçÁ÷¼ì²â¡£
²úÆ·ÌØÐÔ
? -40¡æ ~ 150¡æ¿íµÄ¹¤×÷»·¾³Î¶È
? 0.5 ~ 30 mV/G³¬¿í¿É±à³ÌÁéÃô¶È·¶Î§
? <¡À1% ȫζȷ¶Î§ÄÚ¼«Ð¡µÄÁéÃô¶ÈÎó²î
? <¡À5 mVȫζȷ¶Î§ÄÚ¼«µÍµÄÁãµãÆ¯ÒÆ
? 3mvRMSÐÐÒµÁìÏȵÄÔëÉù±íÏÖ
? 400KHz³¬¸ß´ø¿í
? 1.5us¿ìËÙÏìӦʱ¼ä
? Òµ½çÁìÏȵÄESDÐÔÄÜ£ºHBM£º¡À8kV¡¢CDM£º¡À2kV
? ¿ÉÑ¡¹Ì¶¨Êä³ö»ò±ÈÀýÊä³ö°æ±¾
? ¶ÏµØÏß¼ì²â£¬¹ýѹ/Ƿѹ¼ì²â
? ¹ýÁ÷±£»¤¹¦ÄÜ
? ²»Í¬¹©µçÐͺſÉÑ¡£¬3.3V »ò 5 Vµ¥µçÔ´¹¤×÷
? 1mm TO94·â×°ÒÔ¼°¶àÖÖÒý½ÅÍäÕÛÐÎʽ
? ·ûºÏ RoHS ±ê×¼µÄ·â×°
Ó¦Óó¡¾°
? µçÁ÷´«¸ÐÆ÷Ä£×é
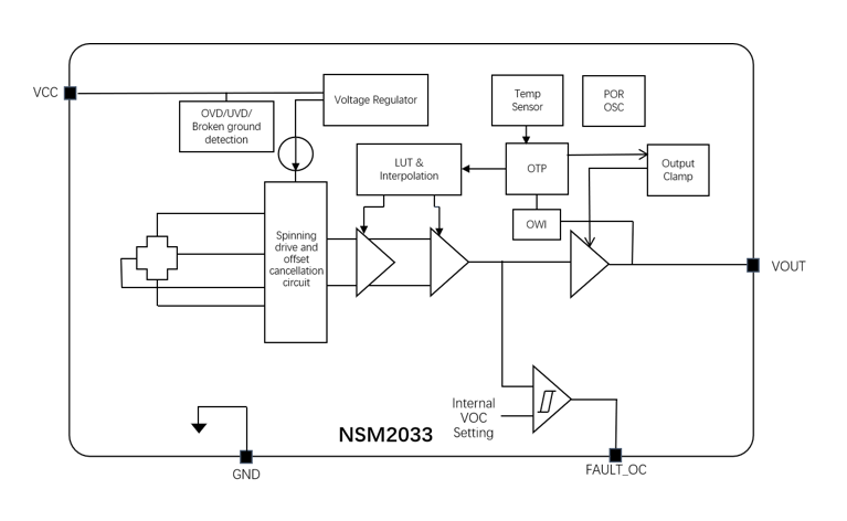
¹¦ÄÜ¿òͼ


ÈçÄúÐèÒª×Éѯ²úÆ·¸ü¶àÐÅÏ¢£¬Çëµã»÷¡°ÒøºÓ¼¯ÍÅgalaxy¡±£¬ÎÒÃǽ«¾¡¿ì»Ø¸´Äú!