ÎÒÃǷdz£ÖØÊÓÄúµÄ¸öÈËÒþ˽£¬µ±Äú·ÃÎÊÎÒÃǵÄÍøÕ¾Ê±£¬ÇëͬÒâʹÓõÄËùÓÐcookie¡£ÓйظöÈËÊý¾Ý´¦ÀíµÄ¸ü¶àÐÅÏ¢¿É·ÃÎÊ¡¶Òþ˽Õþ²ß¡·
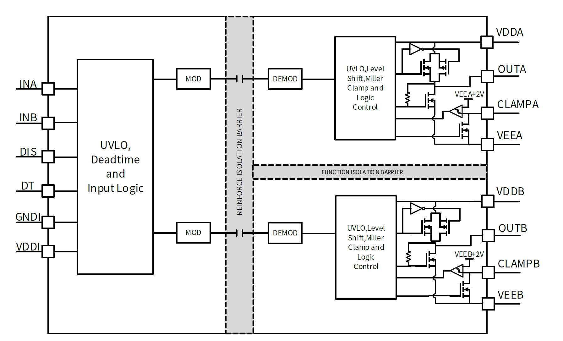
NSI6602MÊÇÒ»¿î¼¯³ÉÃ×ÀÕǯλ¹¦ÄܵĸôÀëʽ˫ͨµÀÕ¤¼«Çý¶¯Æ÷£¬×¨ÎªÇý¶¯IGBT¡¢¹¦ÂÊMOSFET¼°SiC MOSFET¶øÉè¼Æ¡£Äܹ»Ìṩ5A/5AµÄÀ¹àµçÁ÷£¬Ã×ÀÕǯλµçÁ÷¸ß´ï5A£¬typical 150 kV/¦Ìs¹²Ä£Ë²±ä¿¹ÈŶȣ¨CMTI£©È·±£ÁËϵͳµÄ³°ôÐÔ¡£¸ÃÇý¶¯Æ÷µÄ×î´óÄÍѹΪ35V£¬ÊäÈë²àµçÔ´µçѹ·¶Î§Îª3~5.5V£¬²¢¾ß±¸Ç·Ñ¹Ëø¶¨£¨UVLO£©±£»¤¡£NSI6602Mƾ½èÆä¸ßÇý¶¯µçÁ÷ÄÜÁ¦¡¢Ë«Í¨µÀÃ×ÀÕǯλ¹¦ÄÜ¡¢³öÉ«µÄÄÍÓÃÐÔ¡¢¿íµçÔ´µçѹ·¶Î§¼°¿ìËÙÐźŴ«²¥ÄÜÁ¦£¬¹ã·ºÊÊÓÃÓڸ߿ɿ¿ÐÔ¡¢¸ß¹¦ÂÊÃܶȼ°¸ßЧÂʵĿª¹ØµçԴϵͳ¡£
²úÆ·ÌØÐÔ
- ¸ôÀëʽ˫ͨµÀÇý¶¯Æ÷
- ÊäÈë²àµçÔ´µçѹ£º3V~5.5V
- Çý¶¯Æ÷²àµçÔ´µçѹ£º×î´óÄÍѹ35V£¬¾ßÓÐUVLO¹¦ÄÜ
- ·åÖµ5A/5AÀ¹àµçÁ÷ÄÜÁ¦
- Ö§³ÖMiller Clamp¹¦ÄÜ£¬µçÁ÷¸ß´ï5A
- ¸ßCMTI£ºtypical 150kV/¦Ìs
- µäÐÍ´«²¥ÑÓ³Ù£º80ns
- ×î´óÑÓ³ÙÆ¥Å䣺5ns
- ×î´óÂö³å¿í¶ÈÊ§Õæ£º25ns
- ¿É±à³ÌËÀÇøÊ±¼ä
- ½ÓÊÜ×îСÊäÈëÂö³å¿í¶È£º30ns
- ¹¤×÷ζÈ: -40¡æ~125¡æ
- AEC-Q100ÈÏÖ¤
°²È«ÈÏÖ¤
- UL1577ÈÏÖ¤:
SOW18£º1·ÖÖÓ 5kVrms
- CQCÈÏÖ¤£º·ûºÏGB4943.1-2011
- CSAÈÏÖ¤£º×é¼þ·ûºÏ5A
- VDEÈÏÖ¤£ºDIN V VDE V 0884-11£º2017-1
Ó¦Óó¡¾°
- ·þÎñÆ÷£¬µçÐź͹¤ÒµÖеĸôÀëʽDC-DCºÍAC-DCµçÔ´
- DC-ACÌ«ÑôÄÜÄæ±äÆ÷
- µç»úÇý¶¯ºÍEV³äµç
- UPSºÍµç³Ø³äµçÆ÷
¹¦ÄÜ¿òͼ


ÈçÄúÐèÒª×Éѯ²úÆ·¸ü¶àÐÅÏ¢£¬Çëµã»÷¡°ÒøºÓ¼¯ÍÅgalaxy¡±£¬ÎÒÃǽ«¾¡¿ì»Ø¸´Äú!