ÎÒÃǷdz£ÖØÊÓÄúµÄ¸öÈËÒþ˽£¬µ±Äú·ÃÎÊÎÒÃǵÄÍøÕ¾Ê±£¬ÇëͬÒâʹÓõÄËùÓÐcookie¡£ÓйظöÈËÊý¾Ý´¦ÀíµÄ¸ü¶àÐÅÏ¢¿É·ÃÎÊ¡¶Òþ˽Õþ²ß¡·
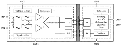
NSI1300ÊÇÊä³öÓëÊä³ö»ùÓÚNOVOSENSEµçÈݸôÀë¼¼ÊõµÄ¸ôÀëµçÁ÷²ÉÑùÔË·Å¡£´ËϵÁвúÆ·¾ßÓÐÏßÐÔ²î·ÖÊäÈëÐźšÀ50mV(ÂúÁ¿³Ì¡À64mV)»ò¡À250mV·¶Î§(ÂúÁ¿³Ì¡À320mV)¡£¹ÊÕϰ²È«¹¦ÄܰüÀ¨ÊäÈ빲ģ¹ýѹ¼ì²âºÍVDD1ȱʧ¼ì²â£¬¼ò»¯ÁËϵͳÉè¼ÆºÍÕï¶Ï¡£NSI1300µÄ¹Ì¶¨ÔöÒæÎª8.2/41£¬²¢Ìṩ²î·ÖÄ£ÄâÊäÈë¡£µÍʧµ÷ºÍÔöÒæÆ¯ÒÆÈ·±£ÁËÕû¸öζȷ¶Î§Äڵľ«¶È¡£¸ß¹²Ä£Ë²±ä¿¹ÈŶÈ(CMTI)¿ÉÈ·±£¼´Ê¹ÔÚ´æÔÚ´ó¹¦ÂÊ¿ª¹ØµÄÇé¿öÏÂ(ÀýÈçÔÚµç»ú¿ØÖÆÓ¦ÓÃÖÐ)£¬¸ÃÉ豸ҲÄܹ»Ìṩ¾«×¼¶ø¿É¿¿µÄ²âÁ¿½á¹û¡£
²úÆ·ÌØÐÔ
? ×î¸ß5000Vrms¾øÔµµçѹ
? ¡À50mV»ò¡À250mVÏßÐÔÊäÈëµçѹ·¶Î§
? ¹Ì¶¨ÔöÒæ£º8.2»ò41
? µÍÆ«ÖÃÎó²îºÍÎÂÆ¯£º
? NSI1300D25: ¡À0.2mV(Max), -2~4¦ÌV/¡ãC(Max)
? NSI1300D05: ¡À0.1mV(Max), -0.8~1¦ÌV/¡ãC(Max)
? µÍÔöÒæÎó²îºÍÎÂÆ¯£º
? ¡À0.3£¥(Max)£¬¡À50ppm /¡ãC(Max)
? µÍ·ÇÏßÐÔºÍÎÂÆ¯£º
? ¡À0.03£¥(Max)£¬¡À1ppm /¡ãC(Typ)
? SNR£º86dB(Typ£¬BW = 10kHz)£¬72dB(Typ£¬BW = 100kHz)
? ´ø¿í£º310kHz(Typ)
? ¸ßCMTI£º150kV /us( Typ)
? ϵͳ¼¶Õï¶Ï¹¦ÄÜ£º
? VDD1¼à¿Ø
? ÊäÈ빲ģ¹ýѹ¼ì²â
? ¹¤×÷ζȣº-40¡ãC?125¡ãC
? ·ûºÏRoHSµÄ·â×°£º
? SOP8(300mil)
°²È«ÈÏÖ¤
? UL1577ÈÏÖ¤: 1·ÖÖÓ 5kVrms
? CQCÈÏÖ¤£º·ûºÏGB4943.1-2011
? CSAÈÏÖ¤£º×é¼þ·ûºÏ5A
? VDEÈÏÖ¤£ºDIN V VDE V 0884-11:2017-01
Ó¦Óó¡¾°
? ·ÖÁ÷µçÁ÷¼à¿Ø
? ½»Á÷µç»ú¿ØÖÆ
? µçÁ¦ºÍÌ«ÑôÄÜÄæ±äÆ÷
? ²»¼ä¶ÏµçÔ´¹©Ó¦
? ³µÔسäµçÆ÷
¹¦ÄÜ¿òͼ


ÈçÄúÐèÒª×Éѯ²úÆ·¸ü¶àÐÅÏ¢£¬Çëµã»÷¡°ÒøºÓ¼¯ÍÅgalaxy¡±£¬ÎÒÃǽ«¾¡¿ì»Ø¸´Äú!