我们非常重视您的个人隐私,当您访问我们的网站时,请同意使用的所有cookie。有关个人数据处理的更多信息可访问《隐私政策》
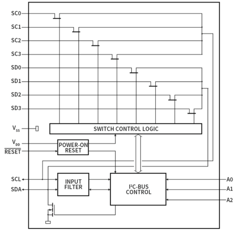
NCA9546是通过I2C总线控制的四路双向转换开关。 SCL / SDA上行数据分散到四对下行数据或通道。可以选择任何单个SCN / SDN通道或通道组合,具体取决于可编程控制寄存器的内容。低电平有效复位(RESET)输入可以使NCA9546能够从任一下行I2C总线长时间处于低电平状态时恢复。将RESET下拉为低电平可复位I2C状态机,并取消选择所有通道,内部上电复位功能也是如此。在开关上建有导通栅极, VCC端子可用于限制NCA9546传递的最大电压。这允许每个通道使用不同的总线电压,从而1.8V,2.5V或3.3V的部件可以与5V的部件通信,而无需任何额外的保护。外部上拉电阻将总线上拉至每个通道所需的电压电平。所有I / O端子均可承受5.5 V电压。
产品特性
?4选1双向转换开关
?兼容I2C总线和SMBus
?低电平有效复位输入
?3个地址终端,在I2C总线上最多允许8个设备
?通过I2C总线进行通道选择,任意组合
?允许在1.8V,2.5V,3.3V和5V总线之间进行电压电平转换
?1.7 V至5.5 V的工作电源电压范围
?5.5 V耐压输入
?0至400kHz时钟频率
?闩锁性能超过100mA,符合JESD78 II类规范
?ESD保护性能超出JESD22标准
o2000V人体充放电模型(A114-A)
o1000V充电器件模型(C101)
?工作温度:-40℃~105℃
?符合RoHS的封装:TSSOP-16
应用场景
?服务器
?路由器(电信交换设备)
?工厂自动化
?具有I?C从站地址竞争的产品
功能框图


如您需要咨询产品更多信息,请点击“银河集团galaxy”,我们将尽快回复您!