ÎÒÃǷdz£ÖØÊÓÄúµÄ¸öÈËÒþ˽£¬µ±Äú·ÃÎÊÎÒÃǵÄÍøÕ¾Ê±£¬ÇëͬÒâʹÓõÄËùÓÐcookie¡£ÓйظöÈËÊý¾Ý´¦ÀíµÄ¸ü¶àÐÅÏ¢¿É·ÃÎÊ¡¶Òþ˽Õþ²ß¡·
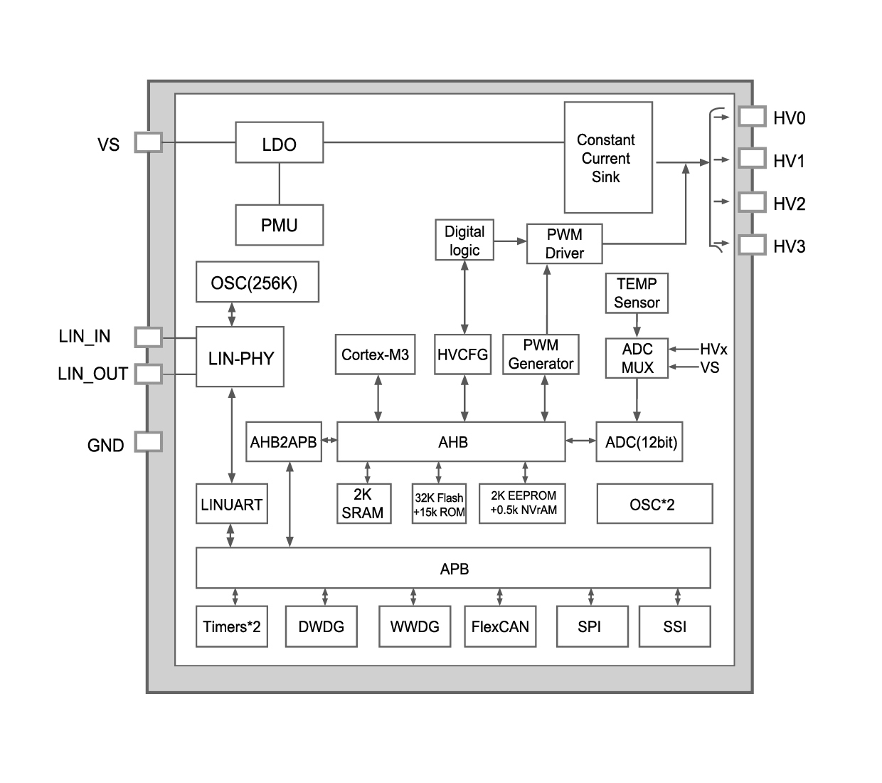
NSUC1500 ÊÇÒ»¿î»ùÓÚ ARM Cortex-M3 µÄ MCU£¬¼¯³ÉÁË 4 · LED Çý¶¯Æ÷£¬ÓÃÓÚ¿ØÖÆ RGB£¨»ò RGBW£©»·¾³¹â¡£ËüÌṩÁËÒ»¿î 32 λ΢¿ØÖÆÆ÷£¬Å䱸 32KB ÉÁ´æ¡¢2KB EEPROM¡¢15KB ROM¡¢LDO ÒÔ¼°Ö§³Ö LIN ×Ô¶¯Ñ°Ö·µÄ LIN ÊÕ·¢Æ÷¡£¸ÃоƬ֧³Ö UDS Éý¼¶Èí¼þ£¬Ê¹Óà ROM ´úÂ룬Òò´ËÎÞÐèÕ¼ÓÃÉÁ´æ¿Õ¼ä¡£Ð¾Æ¬»¹Å䱸 4 · 16 λ EPWM£¬Ã¿¸öͨµÀµÄʱÖÓΪ 32MHz£¬ÇÒÿ¸ö LED Çý¶¯Í¨µÀ×î´ó¿ÉÌṩ 64mA µçÁ÷¡£ ΪʵÏÖζȲ¹³¥ºÍ PN ½áµçѹ¹ÜÀí£¬NSUC1500 ¼¯³ÉÁËζȴ«¸ÐÆ÷ºÍµçѹ¸ÐÓ¦µç·£¬Äܹ»Í¨¹ý ADC ½øÐвÉÑù¡£´ËÍ⣬ͨ¹ý ADC »ñÈ¡ RGB µÄ²î·ÖǰÏòµçѹ£¬¿ÉÒÔÓÐЧ²¹³¥ LED ζȵÄÈ«·¶Î§±ä»¯ºÍ³¤ÆÚÆ¯ÒÆ¡£
²úÆ·ÌØÐÔ
? ARM Cortex-M3 32 λÄÚºË
? 32KB ÉÁ´æ£¨ECC£©£¬2KB EEPROM£¨ECC£©
? 2KB SRAM£¬512B Êý¾Ý RAM£¬512B NVR£¨ECC£©
? 32MHz ¸ß¾«¶ÈÕñµ´Æ÷
? 35KHz µÍ¹¦ºÄµÍËÙʱÖÓ
? ¿íƵ´ø PLL£¨×î¸ß 32MHz£©
? 6V ÖÁ 28V ¿íµçÔ´µçѹ·¶Î§
? 1 ¸ö 12 λ¸ß¾«¶È ADC
? 4 ·¸ß¾«¶È LED Çý¶¯Æ÷£¬×î´óµçÁ÷ 64mA
? LIN PHY ºÍ LIN UART ¿ØÖÆÆ÷Ö§³Ö LIN 2.x ºÍ SAE J2602
? 4 ·ÔöÇ¿ÐÍ PWM£¨16 룩Êä³ö£¬ÓÃÓÚ LED
? 2 ¸ö 16 λͨÓö¨Ê±Æ÷
? 1 ¸öÊý×Ö¿´ÃŹ·ºÍ 1 ¸ö´°¿Ú¿´ÃŹ·
? 1 ¸ö SPI£¨Ö÷»ú£©ºÍ 1 ¸ö SSI£¨´Ó»ú£©£¬Ö§³Ö 4 Ïß»ò 3 ÏßͨÐÅ
? ƵÂÊÀ©Õ¹Æ×£¨ÄÚ²¿Ê±ÖÓ£©
? ÍêÕûµÄ±£»¤ºÍÕï¶Ï¹¦ÄÜ£º
LIN ½Ó¿Ú¹ÊÕÏ
RGB ¹ÊÕÏ
µçѹ¹©Ó¦¹ÊÕÏ
ÈȹضÏ
? Ö§³Ö ROM ÖÐµÄ UDS Æô¶¯¼ÓÔØ³ÌÐò
? ·â×°£ºQFN-24 / SOP8 / HSOP8
? ·ûºÏ AEC-Q100 Grade 1 ¿É¿¿ÐÔ±ê×¼
? ·ûºÏ ROHS ºÍ Reach ±ê×¼
Ó¦Óó¡¾°
? Æû³µÄÚÊηÕΧµÆ
? Æû³µ³äµçÃÅ·ÕΧµÆ
¹¦ÄÜ¿òͼ


ÈçÄúÐèÒª×Éѯ²úÆ·¸ü¶àÐÅÏ¢£¬Çëµã»÷¡°ÒøºÓ¼¯ÍÅgalaxy¡±£¬ÎÒÃǽ«¾¡¿ì»Ø¸´Äú!