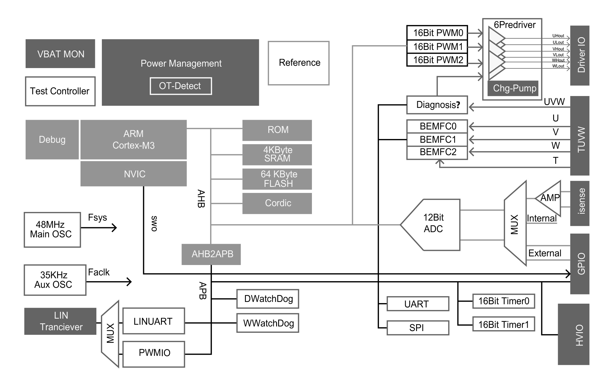
NSUC1602 is an application-specific processor integrated with 3-phase BLDC gate, designed for controlling three-phase BLDC motors. It can use FOC or Six-Step commutation to control BLDC both for sensored and sensorless mode. A And it is widely used in the automotive water pump and cooling fan. This chip conforms to the AEC-Q100 standard, and its junction temperature can support up to 175°C. Also, it is integrated with over-voltage protection function, and the LIN port can support -40V~40V, BVDD pin can support -0.3~40V. The core of the chip is Cortex-M3 based on the ARM instruction set. The core adopts Harvard structure and uses independent data bus and address bus, which can improve the efficiency of getting address and data.
Product Features
? ARM Cortex-M3 32bit core
? 64KBytes Flash, 4KBytes SRAM, 1.5KBytes NVRAM
? 48MHz high precision oscillator
? 35KHz Low power and low speed clock
? Operating voltage 5.5V~28V
? One 12-bit high precision ADC with 2MSPS
? One 8-bit DAC and Comparator for hardware overcurrent protection
? Three rapid reverse voltage comparators (BEMFC)
? One SPI communication support 3 line / 4 line
? Two LIN UART peripherals
? LIN PHY module support LIN 2.2 communication
? Two 16-bit timers
? One window watchdog
? One digital watchdog
? Three phase PreDriver output (GDU)
? Six channels enhanced EPWM output
? One high voltage GPIO with PWMIO
? One 5V output ALDO
? Two temperature sensors
? Four working modes: work, retention, idle and sleep mode
? AEC-Q100 Grade 0 reliability standard
? ROHS
Application
? Automotive water pump
? Automotive cooling fan
? Automotive HVAC Blower
? Automotive oil pump
? BLDC motor control
? BDC motor control
Functional Block Diagram


For more product information, please contact us.