NSOPA901x series is a family of high voltage (40 V) general purpose operational amplifiers. These devices offer exceptional DC precision and AC performance, including rail-to-rail input/output, low offset (±300 ?V, typical), low offset drift (±1.8 ?V/°C, typical), low noise (22 nV/√Hz and 14 ?VPP), and 1MHz bandwidth.
The NSOPA901x family of op amps is available in standard packages (SOT-23, MSOP, SOP, and TSSOP), and is specified from -40°C to 125°C.
Product Features
? Wide supply: ±1.35 V to ±20 V, 2.7 V to 40 V
? Low offset voltage: 300μV typ.
? Low offset voltage drift: ±1.8 μV/°C typ.
? Low quiescent current: 140 ?A per amplifier
? Unity-gain stable
? AEC-Q100 qualified for automotive applications
? Gain-bandwidth product: 1 MHz
? Slew rate: 2 V/μs typ.
? Robust EMIRR performance: EMI/RFI filters on input and supply pins
? Differential and common-mode input voltage range to supply rail pulse-friendly/comparator inputs 1 Amplifier operates with differential inputs up to supply rail 2 Amplifier can be used in open-loop or as comparator
? Extended temperature range: –40°C to 125°C
Application
? Multiplexed data-acquisition systems
? Test and measurement equipment
? ADC driver amplifiers
? SAR ADC reference buffers
? Programmable logic controllers
? High-side and low-side current sensing
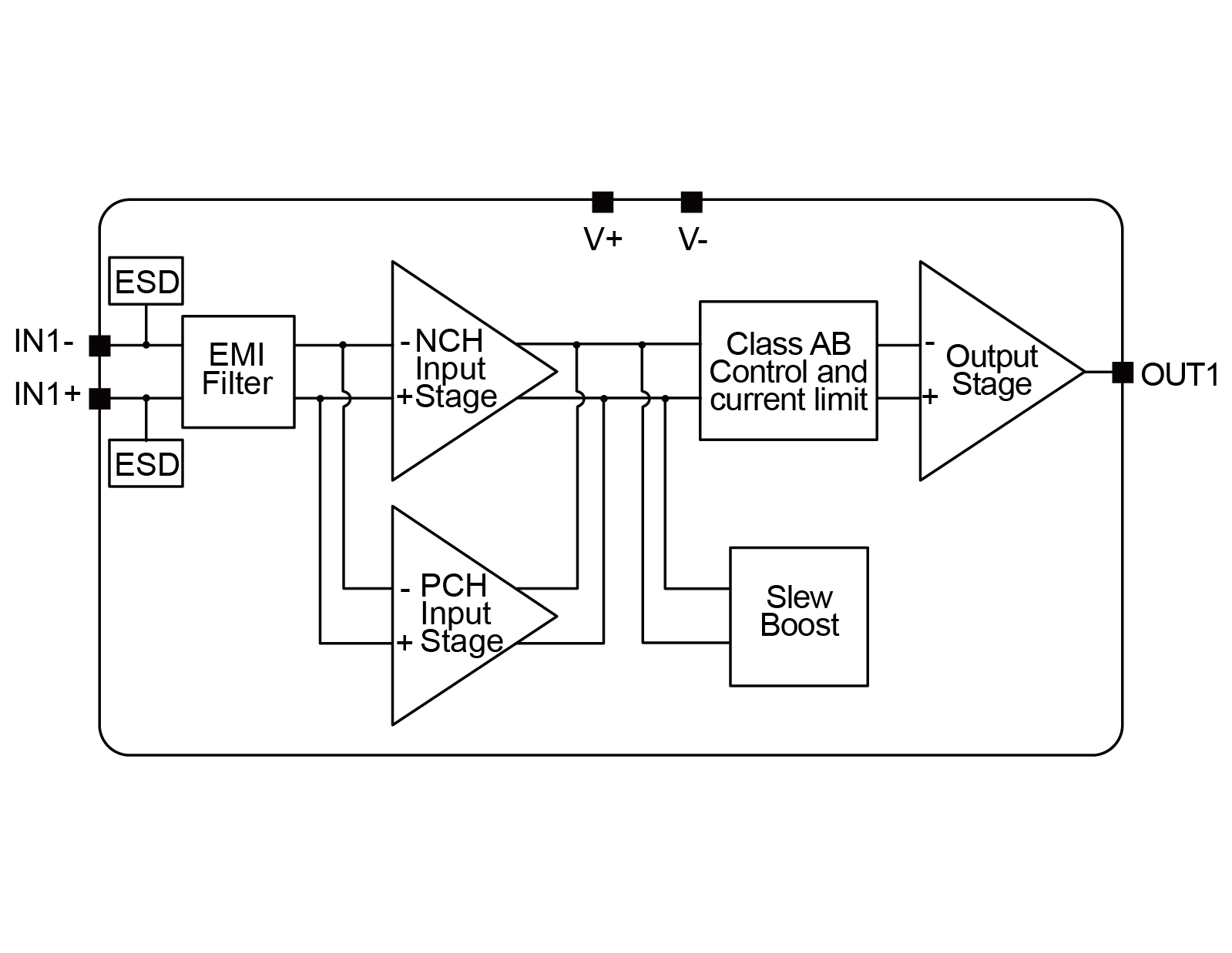
Functional Block Diagram


For more product information, please contact us.