NSE11409 is a single-channel smart low-side switch developed for automobile and industrial applications, featuring a withstand voltage of > 40V, and an internal resistance of about 90mΩ, it allows various diagnostic functions and different protections, and has passed AEC Q100 certification.
The IC is designed with a built-in VDD clamp of> 45V, which is especially suitable for driving inductive loads such as relays and valves to help them realize rapid demagnetization/deenergization. The IC is designed with an internal output current limiting function for overload protection and short circuit protection.
Product Features
? AEC-Q100 automotive qualified
? Operation ambient temperature: -40°C~ 125°C
? The operation voltage is up to 40V
? VDD clamp to support the connection to inductive load
? Overcurrent protection: current limit value> 8A
? Over-temperature protection: absolute over-temperature protection, relative over-temperature protection
? Error status diagnostic output (SO-8 Package): Open circuit detection, over temperature detection
? Ultra-low Quiescent current Iq < 5uA
Application
? BMS
? Body electronic controller
? Vehicle controller
? Air conditioning panel controller
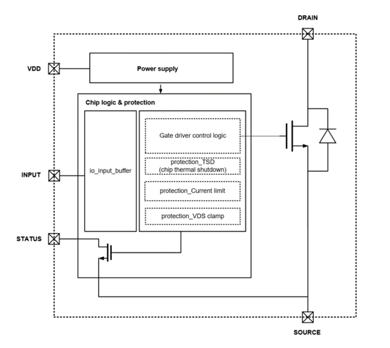
Functional Block Diagram


For more product information, please contact us.