NSM2033 series is a chip-level current sensor launched by NOVOSENSE which can provide a high-precision solution for large range current detection based on magnetic ring. It is widely used in the phase current detection of electric vehicle electric drive system and the large current detection of current module in industrial system.
Product Features
? Working environment temperature: - 40 ℃ ~ 150 ℃
? Wide programmable sensitivity range: 0.5 ~ 30 mV/G
? High precision, low temperature drift
? Sensitivity error <±1% over the whole temperature range
? Zero drift <±5 mV in the whole temperature range
? 3mvRms Industry-leading noise performance
? High bandwidth and fast response
? 3dB 400kHz bandwidth model, response time 1.5μs
? Industry leading ESD performance :HBM: ±8kV,CDM: ±2kV
? 1 mm, TO94 package and a variety of pin bent form
? Support proportional output or fixed output
? Different models the optional power supply, 3.3V or 5V single power supply work
? Broken-Ground detection、Under/Over-Voltage detection
? Overcurrent detection based on internal threshold from 50% to 200% of FS, with 25% step
? Comply with RoHS standard packaging
Application
? Current module
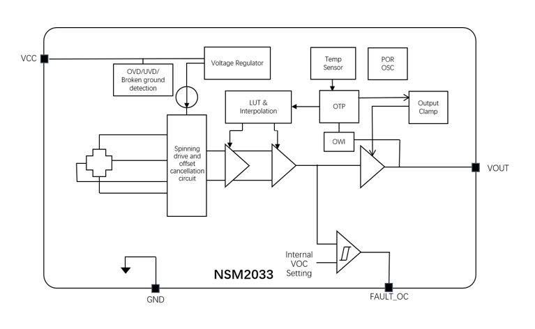
Functional Block Diagram


For more product information, please contact us.